专利 发布时间:2021-05-10 09:54:36
北京阳光知识产权调解中心
近日,北京知识产权法院一审审结原告日本特殊陶业株式会社(简称原告)诉被告潍柴火炬科技股份有限公司(简称火炬公司)、被告北京美众嘉业商贸有限公司(简称美众嘉业公司)侵害发明专利权纠纷一案,判令火炬公司停止制造、销售、许诺销售侵害涉案专利权的行为,美众嘉业公司停止销售、许诺销售侵害涉案专利权的行为,火炬公司赔偿原告经济损失500万元及合理支出211162.15元。
原告起诉称
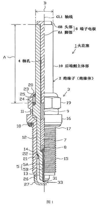
原告是名称为“火花塞”、专利号为ZL201080040132.7的发明专利(即涉案专利)的专利权人。

原告涉案专利
被告火炬公司为火花塞产品生产商,被告美众嘉业公司系火炬公司在京东商城上的授权经销商。
火炬公司制造、销售、许诺销售,美众嘉业公司销售、许诺销售的七款火花塞产品(简称被诉侵权产品)具有涉案专利权利要求1或权利要求1-3的全部技术特征,落入涉案专利权的保护范围,构成专利侵权。

部分被诉侵权产品
原告认为,从火炬公司的网页等相关宣传内容可知,其2012年火花塞销量便达到1.56亿只,且年增长率为30%以上。根据火炬公司生产、销售被诉侵权产品的型号种类、销量、价格及单品利润等情况,原告认为火炬公司的侵权获利数额巨大。
据此,原告向北京知识产权法院提起诉讼,请求法院判令两被告立即停止制造、销售、许诺销售被诉侵权产品的行为,并连带赔偿原告经济损失500万元及合理开支30万元。
被告认为
火炬公司认可美众嘉业公司销售、许诺销售的被诉侵权产品系其制造、销售;
但主张涉案专利属于原告采用编造实验数据、虚构技术效果等手段使其满足专利法的授权条件并取得专利权的情形,且属于原告将申请日前明确知悉的国家标准、行业标准等技术标准中的技术方案申请专利并获得专利权的情形,构成恶意取得专利权的情形,故该专利权在侵权诉讼中不应获得法律保护;
原告对被诉侵权产品进行的端子电极长度测量和端子电极重心位置的确定方法存在瑕疵,故申请法院对被诉侵权产品的端子电极长度和端子电极重心位置进行技术鉴定;
被诉侵权产品未落入原告涉案专利权的保护范围,不构成专利侵权;
即使法院最终认定被诉侵权产品落入涉案专利权的保护范围,原告主张的损害赔偿数额过高,其主张的合理支出数额也缺乏证据支持,依法不应得到法院支持。
北京知识产权法院经审理认为
现有证据无法证明涉案专利属于采用编造实验数据、虚构技术效果等手段使涉案专利满足专利法的授权条件并取得专利权的情形,亦无法证明涉案专利属于将申请日前明确知悉的国家标准、行业标准等技术标准中的技术方案申请专利并确定专利权的情形,故对火炬公司的相关主张不予支持。
根据相关公证书及被诉侵权产品实物等证据,结合庭审勘验情况,能够得出确定的端子电极长度尺寸测量结果,故法院认为对此无需进行技术鉴定。根据相关公证书及被诉侵权产品实物等证据,结合庭审勘验情况,认定采用吊线法就能够基本准确地确定端子电极的重心位置,故法院认为无需再对端子电极的重心位置测定进行技术鉴定。
型号为A4、TURBO3547、DK7RTA、Q5887、DK7RTAI、IQ5837 的六款被诉侵权产品包含了涉案专利权利要求1的全部技术特征,落入涉案专利权利要求1的保护范围;型号为C3的被诉侵权产品包含了涉案专利权利要求1-3的全部技术特征,落入涉案专利权利要求1-3的保护范围。
火炬公司实施了制造、销售、许诺销售七款被诉侵权产品的行为,美众嘉业公司实施了销售、许诺销售七款被诉侵权产品的行为,该七款被诉侵权产品包含涉案专利权利要求1或权利要求1-3的全部技术特征,落入涉案专利权的保护范围,构成专利侵权,依法应当承担停止侵权、赔偿损失等民事责任。
关于停止侵权,火炬公司应当停止实施制造、销售、许诺销售七款被诉侵权产品的行为,美众嘉业公司应当停止实施销售、许诺销售七款被诉侵权产品的行为,包括删除七款火花塞产品的相关宣传信息。
关于赔偿数额,原告明确主张根据火炬公司的侵权获利作为计算赔偿的依据。
首先,法院查明火炬公司2016年至2020年期间火花塞产品的平均年产销量不低于1.56亿支,查明火炬公司生产的火花塞产品型号总量为100款左右,查明型号为C3、A4、Q5887、DK7RTA和DK7RTAI的涉案五款涉案产品的销售期间至少为2016年11月至2020年11月期间,型号为TURBO3547和IQ5837的两款涉案产品的销售时间至少为2018年8月至2020年11月期间。
其次,法院在假定每款火花塞产品的销售数量相同的情况下,根据前述查明事实推算出涉案七款火花塞产品在前述销售期间内的销售总量超过三千万只。再次,法院查明涉案七款火花塞产品在授权电商平台的出厂价约为6—45元,再考虑到火炬公司直接批量提供给各汽车厂家的火花塞产品的单价应低于前述价格等情节,进而假定火炬公司直接批量提供给各汽车厂家的火花塞产品的单价为4-35元,然后结合火炬公司陈述的其火花塞产品的利润率约为5%等情节,估算出每款火花塞产品的平均利润至少不低于0.2元。
最后,法院认定即使按照每款火花塞产品的销售利润为0.2元计算,涉案七款火花塞产品的销售利润也已达到3000万*0.2=600万元,远远超过原告主张的赔偿数额500万元,故对原告请求火炬公司赔偿其经济损失500万元的主张予以全额支持,对原告为本案诉讼支出的合理费用211 162.15元予以支持。
来源 | 知产北京
在线留言