热点 发布时间:2020-10-27 10:07:04
前言导读●●
1.东鹏特饮注册“东鹏加気”商标,于去年6月披露IPO计划
2.苹果正与米高梅谈判,拟购买新007电影流媒体版权
3.散装巧克力套上冒牌礼盒,赚翻倍差价?
4.企查查恶意抢注百度爱企查17个商标
5.5G专利已有69万个,中国核心专利达世界第一
【环球网综合报道】天眼查App显示,近日,东鹏特饮注册了“东鹏加気”商标,商标分类包括化学原料、材料加工等。

据报道,2019年6月,东鹏特饮拟首次公开发行股票并在境内证券交易所上市。据其招股书披露,东鹏饮料拟在上交所上市,公开发行人民币普通股不超过4001万股,募集资金总额将根据发行定价结果最终确定。2017年-2019年,东鹏饮料营收分别为28.43亿元、30.37亿元、42.08亿元。
据北京商报报道,东鹏饮料旗下产品涵盖能量饮料、非能量饮料、包装饮用水三大类型。能量饮料贡献最大,2017年-2019年度分别贡献营收27.35亿元、28.85亿元、40亿元,占公司总收入的96.19%、94.99%、95.11%。
天眼查App融资信息显示,2017年6月,东鹏特饮获加华伟业3.5亿元投资。
来源 | 环球网
10月25日消息,据国外媒体报道,苹果公司正与米高梅(MGM)谈判,希望购买新007电影流媒体版权。外媒表示,苹果公司正在积极竞标即将上映的007电影《无暇赴死》(No Time To Die),希望将其独家带到Apple TV+上。另外,Netflix也在与米高梅谈判。
今年早些时候,苹果还购买了汤姆·汉克斯(Tom Hanks)的二战电影《灰狗》(Greyhound)的流媒体版权。受疫情影响,当时电影无法在电影院上映。
外媒表示,米高梅可能因为(财务等方面)压力,希望将这部电影卖给出价最高的人。
疫情持续时间太长,许多想要在电影院上映的电影已经开始在流媒体平台上发行。
来源 | TechWeb
今年1月,上海警方通过智能系统研判发现,“费列罗”多款礼盒装巧克力商品在一些网络电商平台的销量竟超过了其公司市场投放总量。市公安局经侦总队会同闵行警方成立联合专案组开展侦查,并迅速甄别出多家可疑网店。

警方发现,这些礼盒装巧克力均来自上海的一家批发贸易公司。锁定这家公司的实际控制人刘某后,侦查员调查发现,刘某曾从广东、浙江、上海等地购入大量假冒该品牌巧克力商品的礼盒装包材,存在极大制售假犯罪嫌疑。经过数月侦查,专案组了解到2019年以来,刘某等人为牟取非法利益,以每粒2元不到的低价采购大量“费列罗”散装巧克力。在未经权利公司授权许可的情况下,租借多处厂房。
警方透露,制作厂房环境十分恶劣。据知情人透露,还有老鼠蹿来蹿去。再从广东的韦某和浙江的潘某处购入仿制的礼盒装巧克力包装胶带、塑料盒,又从上海的杨某等人处购入假品牌标签、托盘、底卡和纸箱,然后雇佣工人贴标封装成“费列罗”礼盒装巧克力,并自行喷印生产日期、保质期、产品批号,再以盒装平均每粒3-4元的价格售出,销往全国,从中赚取接近翻倍的差价。最终,警方抓获犯罪嫌疑人18名,捣毁产储销窝点17处,查获印有假冒品牌标识的塑料盒7900余个、商标90余万张以及作案设备11套,涉案金额1300余万元。目前,上述犯罪案嫌疑人已因涉嫌假冒注册商标罪被警方依法采取刑事强制措施,案件正在进一步侦办中。
来源 | 上海青年报·青年上海
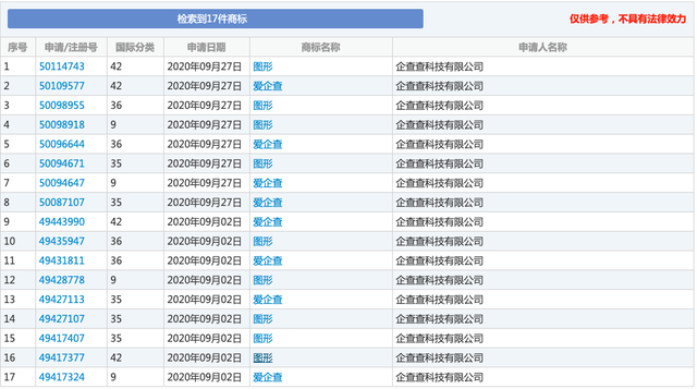
鞭牛士BiaNews消息:10月20日,据国家知识产权局商标局“中国商标网”信息显示,企业信息查询企业“企查查”在同行百度企业信用平台8月18日宣布更名为“爱企查”后,抢注了包括文字、图像形式在内的17个爱企查商标,覆盖近10个不同业务领域。中国商标网信息还显示,目前企查查所抢注的爱企查相关商标,已申请撤回注册,百度所持爱企查商标为2020年04月29日申请注册。

“企查查”抢注百度“爱企查”商标的实体为企查查科技有限公司。工商信息显示,企查查科技有限公司,实际控制人为企查查联合创始人陈德强,其持股该公司39.95%股权。
爱企查是由百度信用旗下“百度企业信用”平台升级而来,主要提供免费的企业信用信息查询服务。业内人士认为,爱企查的免费服务模式,触动了包括企查查、天眼查、启信宝等企业信息查询平台收费模式的蛋糕。企查查恶意抢注百度爱企查商标,实属碰瓷行为。
另据有关报道,企业信息查询行业早前就曾发现抢注商标事件。据悉,2016 年4月25日,天眼查申请注册了同业公司“企查查”7件商标,包括第42类、41类、38类、36类、35类、16类和9类。2017年,企查查就天眼查所申请相关商标提起无效宣告。
国家知识产权局商标局商标评审委员会信息显示, 商评委认为申请人提交的在案证据形成时间晚于争议商标的申请日期,或未体现商标标识,均不能证明在争议商标申请注册日之前,也不能证明已在同样领域使用,并具有一定影响,不予支持。
商评委指出,争议商标不存在“有害于社会主义道德风尚或者有其他不良影响”的情形,在申请注册时也未有欺骗和或者其他不正当手段,申请人缺乏充分事实依据,也不以支持。
目前,除第16类、41类商标外处在撤销/无效宣告申请审查中,其它天眼查所申请注册的企查查商标仍然有效。
来源 | 鞭牛士
在10月22日的国务院新闻办新闻发布会上,工信部新闻发言人闻库表示说,截至目前,我国累计开通5G基站达69万个,不仅提前完成今年新建50万基站的目标,还超量完成,基本实现地市级城市的5G覆盖。
从4G到5G,我国5G技术的发展有着质的飞跃,根据科技部高新技术司司长秦勇的介绍,目前我国在移动通讯上做到了让5G技术领跑,率先实现了5G 商用,用户突破了1亿,并且5G 核心专利数占世界第一。从这些数据来看,我国5G发展的成就可见一斑。
当然了,从一开始我国就表现出了对于5G建设的重视,就今年前三季度来看,相比去年同期的投资,今年5G投资占比达到了38.2%,毕竟5G现如今已经拓展到各个行业,涉及很多的新兴领域,所以这个“蓝海”还是很有发展的必要。在今年1月到9月份,中国市场5G手机出货量达1.08亿部,1.6亿个终端连接到5G网络上,5G市场的潜力进一步显现。
来源 | 网易新闻
在线留言